Can ship immediately
Due to market price fluctuations,if you need to purchase or consult the price.You can contact us or emial to us: brenda@hongda-ic.com
1. Feature
1. Fast switching speed
2. Small surface mount package
3. For general switching applications
4. High conductivity
5. Completely lead-free and fully RoHS compliant
6. Free of halogen and antimony. "Green" equipment
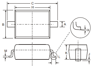
2. Mechanical data
1. Case: SOD323
2. Housing material: molded plastic, "green" molding compound. UL flammability classification level 94V-0
3. Moisture sensitivity: Class 1 according to J-STD-020
4. Leads: Matte tin surface annealed on alloy 42 lead frame (lead-free plating).
5. Can be welded in accordance with MIL-STD-202, Method 208
6. Polarity: cathode band
7. Weight: 0.004 grams (approximate value)
3. Electrical characteristics

4. Package overview
