Can ship immediately
Due to market price fluctuations,if you need to purchase or consult the price.You can contact us or emial to us: brenda@hongda-ic.com
1. Description
The 60R Series radial leaded device is designed to provide overcurrent protection for (≤60V) applications where space is not a concern and resettable protection is preferred.
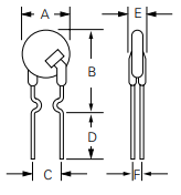
2. Dimensions

3. Features
1. Cured, flame retardant epoxy polymer insulating material meets UL 94V-0 requirements
2. Fast time–to-trip
3. RoHS compliant, Lead- Free and Halogen-Free*
4. Applications
1. USB hubs, ports and peripherals
2. IEEE1394 ports
3. Computers & peripherals
4. Motor protection
5. General electronics
6. Automotive applications
7. Industrial controls
8. Transformers
5. Tape and Ammo Diagram
