Can ship immediately
1. Features
1. Halogen free available upon request by adding suffix "-HF"
2. For sensitive ESD protection
3. Excellent clamping capability
4. Low leakage
5. ESD rating of class 3(>16KV)per Human Body Mode
6. For space saving application
7. Fast response ,response time less than 1ns.
8. Epoxy meets UL 94 V-0 flammability rating
9. Moisture Sensitivity Level 1
10. Operating Junction &StorageTemperature: -55°C to +150°C
11. Maximum Thermal Resistance: 625°C/W Junction To Ambient
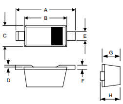
2. DIMENSIONS

3. ELECTRICAL CHARACTERISTICS

