Can ship immediately
Due to market price fluctuations,if you need to purchase or consult the price.You can contact us or emial to us: brenda@hongda-ic.com
1. description
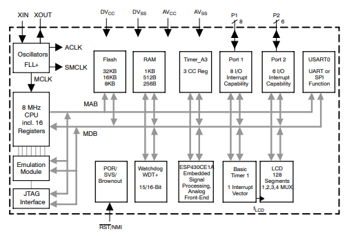
The Texas Instruments MSP430 family of ultra-low-power microcontrollers consist of several devices featuring different sets of peripherals targeted for various applications. The architecture, combined with five low power modes, is optimized to achieve extended battery life in portable measurement applications. The device features a powerful 16-bit RISC CPU, 16-bit registers, and constant generators that contribute to maximum code
efficiency. The digitally controlled oscillator (DCO) allows wake-up from low-power modes to active mode in less than 6 μs.
The MSP430FE42xA series are microcontroller configurations with three independent 16-bit sigma-delta A/D converters and embedded signal processor core used to measure and calculate single-phase energy in both
2-wire and 3-wire configurations. Also included are a built-in 16-bit timer, 128 LCD segment drive capability, and 14 I/O pins.
Typical applications include 2-wire and 3-wire single-phase metering including tamper-resistant meter implementations.
2. Features
1. Low Supply-Voltage Range, 2.7 V to 3.6 V
2. Ultra-Low Power Consumption:
-- Active Mode: 400 μA at 1 MHz, 3.0 V
-- Standby Mode: 1.6 μA
-- Off Mode (RAM Retention): 0.1 μA
3. Five Power-Saving Modes
4. Wake-Up From Standby Mode in Less Than 6 μs
5. Frequency-Locked Loop, FLL+
6. 16-Bit RISC Architecture, 125-ns Instruction Cycle Time
7. Embedded Signal Processing for Single-Phase Energy Metering With Integrated Analog Front-End and Temperature Sensor (ESP430CE1A)
8. 16-Bit Timer_A With Three Capture/Compare Registers
9. Integrated LCD Driver for 128 Segments
10. Serial Communication Interface (USART),Asynchronous UART or Synchronous SPI Selectable by Software
11. Brownout Detector
12. Supply Voltage Supervisor/Monitor With Programmable Level Detection
13. Serial Onboard Programming,No External Programming Voltage Needed,Programmable Code Protection by Security Fuse
14. Bootstrap Loader in Flash Devices
15. Family Members Include:
-- MSP430FE423A:
8KB + 256B Flash Memory,256B RAM
-- MSP430FE425A:
16KB + 256B Flash Memory,512B RAM
-- MSP430FE427A:
32KB + 256B Flash Memory,1KB RAM
16. Available in 64-Pin Quad Flat Pack (QFP)
17. For Complete Module Descriptions, Refer to the MSP430x4xx Family User’s Guide,Literature Number SLAU056
3. pin designation†

4. block diagram
