Can ship immediately
Due to market price fluctuations,if you need to purchase or consult the price.You can contact us or emial to us: brenda@hongda-ic.com
1. GENERAL DESCRIPTION
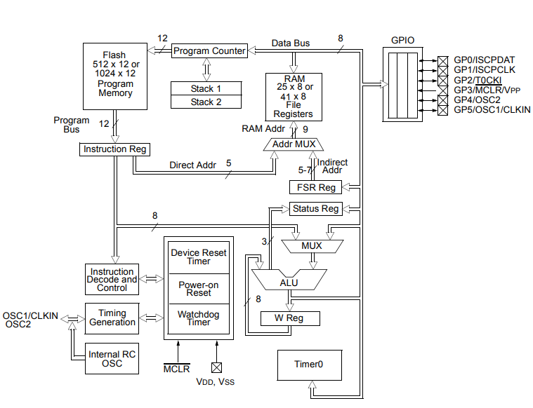
The PIC12F508/509/16F505 devices from Microchip Technology are low-cost, high-performance, 8-bit,fully-static, Flash-based CMOS microcontrollers. They employ a RISC architecture with only 33 single-word/single-cycle instructions. All instructions are single cycle (200 μs) except for program branches, which take two cycles. The PIC12F508/509/16F505 devices deliver performance an order of magnitude higher than their competitors in the same price category. The 12-bit wide instructions are highly symmetrical, resulting in a typical 2:1 code compression over other 8-bit microcontrollers in its class. The easy to use and easy to remember instruction set reduces development time significantly.
The PIC12F508/509/16F505 products are equipped with special features that reduce system cost and power requirements. The Power-on Reset (POR) and Device Reset Timer (DRT) eliminate the need for external Reset circuitry. There are four oscillator configurations to choose from (six on the PIC16F505), including INTRC Internal Oscillator mode and the power-saving LP (Low-Power) Oscillator mode. Power-Saving Sleep mode, Watchdog Timer and code protection features improve system cost, power and reliability.
The PIC12F508/509/16F505 devices are available in the cost-effective Flash programmable version, which is suitable for production in any volume. The customer can take full advantage of Microchip’s price leadership in Flash programmable microcontrollers, while benefiting from the Flash programmable flexibility.
The PIC12F508/509/16F505 products are supported by a full-featured macro assembler, a software simulator, an in-circuit emulator, a ‘C’ compiler, a low-cost development programmer and a full featured programmer. All the tools are supported on IBM® PC and compatible machines.

2. High-Performance RISC CPU:
1. Only 33 Single-Word Instructions to Learn
2. All Single-Cycle Instructions Except for Program Branches, which are Two-Cycle
3. 12-Bit Wide Instructions
4. 2-Level Deep Hardware Stack
5. Direct, Indirect and Relative Addressing modes for Data and Instructions
6. 8-Bit Wide Data Path
7. 8 Special Function Hardware Registers
8. Operating Speed:
- DC – 20 MHz clock input (PIC16F505 only)
- DC – 200 ns instruction cycle (PIC16F505 only)
- DC – 4 MHz clock input
- DC – 1000 ns instruction cycle
3. Special Microcontroller Features:
1. 4 MHz Precision Internal Oscillator:
- Factory calibrated to ±1%
2. In-Circuit Serial Programming™ (ICSP™)
3. In-Circuit Debugging (ICD) Support
4. Power-On Reset (POR)
5. Device Reset Timer (DRT)
6. Watchdog Timer (WDT) with Dedicated On-Chip RC Oscillator for Reliable Operation
7. Programmable Code Protection
8. Multiplexed MCLR Input Pin
9. Internal Weak Pull-Ups on I/O Pins
10. Power-Saving Sleep mode
11. Wake-Wp from Sleep on Pin Change
12. Selectable Oscillator Options:
- INTRC: 4 MHz precision Internal oscillator
- EXTRC: External low-cost RC oscillator
- XT: Standard crystal/resonator
- HS: High-speed crystal/resonator (PIC16F505 only)
- LP: Power-saving, low-frequency crystal
- EC: High-speed external clock input (PIC16F505 only)
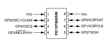
4. Peripheral Features (PIC12F508/509):
1. 6 I/O Pins:
- 5 I/O pins with individual direction control
- 1 input only pin
- High current sink/source for direct LED drive
- Wake-on-change
- Weak pull-ups
2. 8-Bit Real-Time Clock/Counter (TMR0) with 8-Bit Programmable
5. Prescaler Peripheral Features (PIC16F505):
1. 12 I/O Pins:
- 11 I/O pins with individual direction control
- 1 input only pin
- High current sink/source for direct LED drive
- Wake-on-change
- Weak pull-ups
2. 8-Bit Real-Time Clock/Counter (TMR0) with 8-Bit Programmable Prescaler

