Can ship immediately
Due to market price fluctuations,if you need to purchase or consult the price.You can contact us or emial to us: brenda@hongda-ic.com
1. Description
The LEA-6 module series is an independent GPS receiver series with high performance u-blox 6 Positioning engine. These multi-function receivers have a wide range of flexible functions, connectivity And cost-saving options. The LEA-6 module maintains the industry standard 17.0 x 22.4mm size The LEA-5 series has been designed to allow simple migration. They are easy to integrate, which reduces costs It will be on the market in a short time and can be used in various automotive, consumer and industrial applications. The first positioning time (TTFF) of the 50-channel u-blox 6 positioning engine is less than 1 second. dedicated An acquisition engine with more than 2 million correlators, capable of large-scale parallel time/frequency space search, So that it can find the satellite immediately. Innovative design and technology can suppress interference sources and Reduce multipath effects, even in most cases, LEA-6 GPS receiver also has excellent navigation performance A challenging environment. LEA-6 allows easy integration with u-blox wireless modules
2. Product features

3. Pin assignment

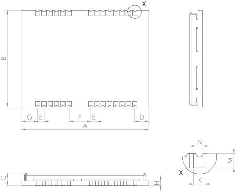
4. Mechanical specifications
